耐熱ダンパー
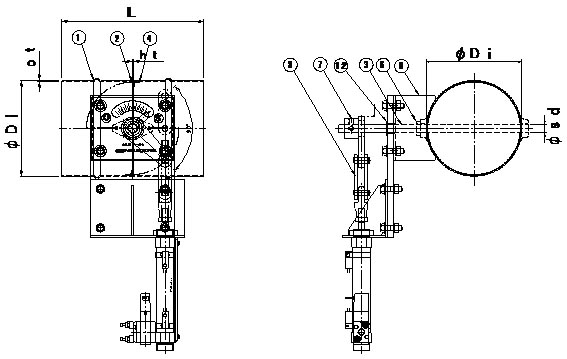
耐熱フランジ付き 自動ダンパー[電磁弁付][軸受付]400℃ [一般産業用] 
EVDAV−□□□EHS[SS]/EVDAV−□□□EHU[SUS]
詳細図面 ss sus SP/0.6KPa サイトマップ  ダウンロード
型  式 φDi φDo n−d ft 標準価格[SS] 標準価格[SUS]
EVDAV- 75−EHS/EHU 73 200
EVDAV-100−EHS/EHU 98 220
EVDAV-125−EHS/EHU 123 220
EVDAV-150−EHS/EHU 148 220
EVDAV-175−EHS/EHU 173 220
EVDAV-200−EHS/EHU 198 220
EVDAV-225−EHS/EHU 223 300
EVDAV-250−EHS/EHU 248 300
EVDAV-275−EHS/EHU 273 300
EVDAV-300−EHS/EHU 298 300
EVDAV-350−EHS/EHU 348 350
EVDAV-400−EHS/EHU 398 400
耐熱自動・ダンパーの特長
総合カタログ
単品カタログ
     ダンパー本体は鋼板製プレスダンパーです。 材質:SS=1.6t(EHS)/SUS=1.5t(EHU) 
     接続フランジ 材質:SS=6.0t(EHS)/SUS=6.0t(EHU) 
       標準品はダンパー本体+バルブ付エァーシリンダー(スイッチの後付は不可) 空気圧力:0.4MPa以上
      
   
     材   質   : 鋼板製 SS−1.6t(EHS)/ステンレス製 SUS−1.5t (EHU)板金
     耐熱仕様   : 200℃
     全閉リーク率 : 通常 1〜3% 
       付属部品   : 電磁弁(継手、ホース配管含む)・スピードコントローラー・サイレンサー

 自動ダンパー [耐熱 200℃] EVDAVF−□□□ EHS/EHU
オートダンパー オートダンパー

型  式 φDi φDo n−d ft 標準価格[SS] 標準価格[SUS]
EVDAVF- 75−SHS/SHU 76.3 129 109 4−10 200 163,592 184,283
EVDAVF-100−SHS/SHU 98 200 160 8−10 220 167,464 192,027
EVDAVF-125−SHS/SHU 123 225 185 8−10 220 172,667 200,255
EVDAVF-150−SHS/SHU 148 250 210 8−10 220 181,621 211,024
EVDAVF-175−SHS/SHU 173 275 235 8−10 220 191,906 228,932
EVDAVF-200−SHS/SHU 198 300 260 8−10 220 209,814 246,840
EVDAVF-225−SHS/SHU 223 325 285 8−13 300 212,476 249,865
EVDAVF-250−SHS/SHU 248 350 310 8−13 300 223,245 265,474
EVDAVF-275−SHS/SHU 273 375 335 12−13 300 229,658 276,243
EVDAVF-300−SHS/SHU 298 400 360 12−13 300 252,890 302,984
EVDAVF-350−SHS/SHU 348 450 410 12−13 350 272,976 328,152
EVDAVF-400−SHS/SHU 398 500 460 12−13 400 303,710 369,655
 自動ダンパー [耐熱 400℃] EVDAVF−□□□ SHS/SHU
 
     ダンパー本体 材質:SUS−304  
     接続フランジ 材質:SUS=6.0t 仕上
     標準品はダンパー本体+バルブ付エァーシリンダー(スイッチの後付は不可) 空気圧力:0.4Pa以上
 
     材   質    : ステンレス製 SUS−304 (構造材仕様等は特型にてお受けいたします)
     
     耐熱仕様    : 400℃以下
     全閉リーク率  : 通常 1〜3% 
     付属部品    : 電磁弁(継手、ホース配管含む)・スピードコントローラー・サイレンサー